
Назначение строенных выключателей – замыкать и размыкать три электрические цепи (они очень удобны в малогабаритных квартирах при освещении кухни, ванной и туалетной комнат).
По признаку конструктивных особенностей механизма выключатели могут быть клавишными, перекидными, поворотными, кнопочными и шнуровыми. В настоящее время для бытовых нужд выпускают выключатели в основном клавишного типа, но не исключено наличие в квартире кнопочных или поворотных выключателей. В переносных осветительных приборах (например, торшерах) зачастую используются шнуровые выключатели.
Но даже выключатели одного типа могут существенно различаться по своим кинематическим схемам (рис. 9).

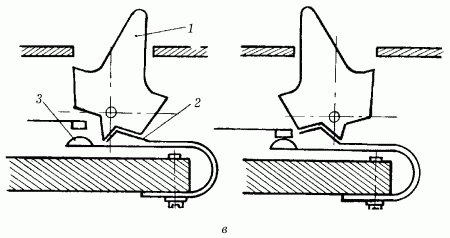
Рис. 9. Конструкция механизмов выключателей: а – качающийся механизм выключателя с пружиной сжатия: 1 – клавиша; 2 – пружина; 3 – шарик; 4 – коромысло; б – качающийся механизм выключателя с пружиной растяжения: 1 – контактная пластина; 2 – рамка; 3 – скоба; 4 – пружина; 5 – основание.

Рис. 9 (продолжение): в – кулачковый механизм выключателя с плоской пружиной: 1 – ручка; 2 – пружина; 3 – контактная пластина.
Схемы действия представленных выключателей достаточно просты.
В качающемся механизме с пружиной сжатия (рис. 9, а) при нажатии на клавишу (1) шарик (3), сжимая пружину (2), проходит через ось качания коромысла (4), и под действием пружины скользит по плечу коромысла, перекидывая его в противоположное положение, тем самым разрывая или соединяя цепь.
В качающемся механизме с пружиной растяжения (рис. 9, б) рамка (2), которая закреплена на клавише выключателя и прижата к основанию (5) пружиной (4), может качаться вокруг оси и вступать в контакт с пластиной (1) или размыкать этот контакт. Пружина посредством скобы (3) при переходе рамки через вертикальную плоскость перекидывает рамку на положение «включено» или обратно в зависимости от нажима на верхнюю или нижнюю часть клавиши.
