
А ведь обнаружить место обрыва можно и не производя таких колоссальных затрат времени, труда и средств (на последующее оштукатуривание стен), с помощью достаточно простого устройства, принципиальная схема которого представлена на рис. 4.

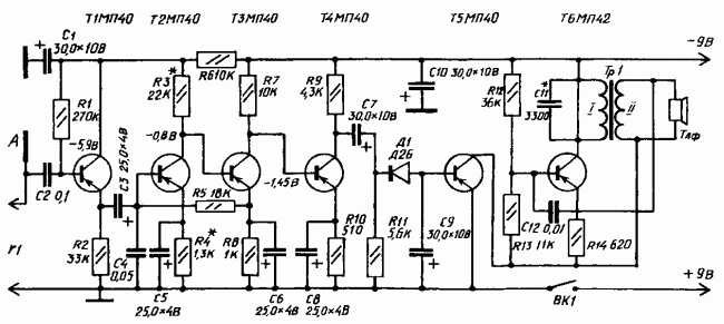
Рис. 4. Принципиальная схема устройства для определения места неисправности скрытой проводки.
Действие прибора основано на регистрации электрического поля, которое образуется вокруг проводника (провода), находящегося под напряжением. Мощность прибора позволяет зарегистрировать ток частотой 50 Гц на расстоянии 6–8 см от проводника. Такое устройство можно приобрести в готовом виде или попытаться собрать по нижеследующему описанию.
Для сборки прибора и обнаружения неисправности в скрытой электропроводке необходимы следующие комплектующие: четырехкаскадный усилитель звуковой частоты с коэффициентом усиления 3000–5000 единиц, выпрямитель, ключевой каскад, генератор звуковой частоты на 900–1600 Гц, две батареи 3336Л, трансформатор, антенна и головные телефоны (наушники).
Для питания устройства осуществляют последовательное соединение батарей 3336Л (их суммарный ток – 5–8 мА). Проводник с током в антенне А наводит в приборе напряжение частотой 50 Гц, которое увеличивается усилителем звуковой частоты (собранным на транзисторах Т1– Т4). Далее напряжение выпрямляется диодом Д1 (его значение на выходе – 0,2–0,4 В) и поступает на базу транзистора Т5 ключевого каскада. Под действием напряжения блокинг-генератор, собранный на транзисторе Т6, начинает генерировать колебания звуковой частоты, которые отчетливо слышны в головных телефонах, соединенных с генератором.
Все детали прибора, кроме выключателя ВК1, батарей питания, гнезд Г1 и телефонов, размещают на гетинаксовой плате размером 12 x 7,2 см. Саму плату вместе с батареями, гнездами и тумблером выключателя помещают внутрь металлического корпуса размером 15 x 7,8 x 4,5 мм. Антенна А размером 13 x 6,5 см, изготовленная из листовой медной фольги, укрепляется в окне крышки корпуса на изолирующей гетинаксовой плате.
